MEASURED TRANSFORMATION OF DEEP WATER WAVE
SPECTRA ACROSS A SHALLOW CORAL REEF FLAT
David D. McGehee, P.E.
Research Hydraulic Engineer
US Army Engineer Waterways Experiment Station
Coastal Engineering Research Center
3909 Halls Ferry Rd., Vicksburg, MS 39180-6199.
ABSTRACT
Agat Harbor, Guam, is a small boat harbor excavated from a coral reef flat and protected by a detached breakwater. An automated monitoring system was designed and installed to determine incident wave climate for Guam, wave transformation characteristics and typhoon surge levels across coral reefs, and compare the actual harbor response to the response predicted by the numerical harbor oscillation model HARBS. This paper describes the measured propagation and transformation of wave spectra across the coral reef flat. Non-linear amplification of the low-frequency energy components is observed. The phenomenon is described as a harmonic response to periodic fluctuations in wave setup.
1. INTRODUCTION
A small boat harbor was designed and built at Agat, Guam by the US Army Engineer Division, Pacific Ocean (POD) and the Port Authority of Guam (Dept. of the Army, 1981). The harbor was excavated from a broad (about 500 m), shallow (about 0.3 m mean lower low water) reef flat on the western side of the island, and is protected by a detached 300 m long rubble-mound breakwater. A 36 m by 4.3 m entrance channel was excavated from the harbor about 300 m across the flat to deep water beyond the reef face (Figure 1). Water depth increases rapidly offshore of Agat, where the average bottom slope is 0.2. The tide is semidiurnal with a mean range of 0.4 m. The western side of Guam is in the lee of the predominant trade winds, and, since the reef dissipates much of the incoming wave energy, the reef flat and harbor are quiescent the majority of the time. However, the island is routinely subject to typhoons; conditions on the reef flat and the back shore when exposed to typhoon winds from the west will be violent.
Harbor and breakwater design were accomplished using standard practices found in the Shore Protection Manual (Dept. of the Army, 1984). Design guidance on wave characteristics on coral reefs needs improvement, as most data on wave shoaling and breaking are applicable to sandy shorelines. Visual observations as well as theory indicate the wave transformation across a reef is markedly different than across sand beaches. The design wave for the structure was selected as the depth-limited breaking wave at the structure toe, or 0.78 d, where d is water depth.
Even less information is available on maximum surge levels behind reef shorelines. The design depth assumed for the constructed plan was 2.5 m, derived from a mean higher high water level of 0.7 m, plus an estimated combined surge and wave set up of 1.5 m, over a reef flat with an average elevation of -0.3 m. The resulting design wave is 1.9 m.

Figure 1 Site map and location of wave gages
The harbor, which was completed in 1990, was selected for study by the US Army Engineer Monitoring Completed Coastal Projects Program (MCCP). The MCCP is managed by the US Army Engineer Waterways Experiment Station Coastal Engineering Research Center (CERC). The purpose of the program is to provide improved design guidance and reduction in operation and maintenance costs through evaluation of the actual performance of investigated projects. Evaluating the project includes verifying design assumptions and structure performance through measurements. Details of the monitoring objectives and the measurement system that was designed and operated can be found in McGehee, 1992. This paper will present results of that element of the monitoring plan directed toward evaluating the propagation and transformation of surface gravity waves on a coral reef flat.
2. MEASUREMENT PLAN
Deep ocean, incident wave conditions were measured from a surface-following, pitch-roll-heave buoy located northwest of the island (Site 1B, Figure 1) and operated by the National Data Buoy Center (NDBC). NDBC has developed a 3-m-diameter buoy that measures directional energy spectra, as well as wind speed and direction, air pressure, and air and sea surface temperatures (Steele, et al 1990). It transmits reduced spectral wave data hourly via the Western Geostationary Orbiting Earth Satellite (GOES). The spectra are obtained from on-board computers using the standard NDBC sampling scheme - a 20 minute burst of 2 Hz samples, numerically filtered and sub-sampled at 1 Hz. This provides reliable estimates of the wave energy with periods between 2.5 seconds and 33 seconds. Longer bursts would provide better estimates of longer period waves, but are not justified because of frequency response limitations on the accelerometer used to measure heave in the buoy. Waves shorter than 2.5 seconds are not reported because of the non-linear hull response at these frequencies. The time series of measured samples are not retained by NDBC.
Wave measurements around the reef were obtained from bottom-mounted pressure sensors connected to a central on-shore computer. Sites 2A and 2B are located near the reef face, and about 1/4 of the way to the shore, respectively. Site 4A is located at the position of the breakwater, about 1/2 of the reef width from the face. Figure 1 illustrates the position of all gages. The on-shore computer for the system retains the pressure time series for post-processing.
The sampling scheme for the pressure gages varies with location, and was designed to meet: the original objectives of the monitoring plan (Boc and McGehee, 1989); a priori assumptions about the characteristics of the waves in different regions around the reef; and constraints of the measurement system. Observations of the waves on the reef during pre-design site visits revealed steep faced, highly non-linear waves, as exemplified by the pressure time series for Site 2B on 10/16/92 (Figure 2). The duration of the record is about 400 seconds. A relatively high sampling rate was selected to capture transient response of the wave form and allow extension of the energy spectrum into the obvious higher frequency components. The sampling scheme for the various wave gages is summarized in Table 1.

Figure 2 Pressure time series for
Sites 5A, 2B, and 4D on 10/12/92 @ 0400 hr
Table 1 Sampling Scheme for Wave Gages
Site number |
Sample frequency (Hz) |
Sample length (count) |
Sample duration (sec) |
Sample interval (hours) |
1B |
1.0 |
1200 |
1200.0 |
1 |
2A |
2.5 |
2048 |
819.2 |
2 |
2B |
2.5 |
2048 |
819.2 |
2 |
4A |
2.5 |
4096 |
1638.4 |
2 |
3. RESULTS
Most of the data recovered reflect the "normal" condition on the leeward side of the island - flat calm. Instances of simultaneous measurement by all 4 gages under consideration when significant wave energy was approaching from the west were relatively rare. The buoy was originally installed at Site 1A (Figure 1) in September, 1990. In December, 1990, the buoy was lost during the peak of Typhoon Russ.
The buoy was reinstalled at Site 1B in December, 1991, but data return was impacted by the low azimuth angle of the Western GOES satellite at this longitude, and further reduced by a wobble in the satellite's orbit that caused it to periodically dip below the horizon (GOES transmissions are line-of-sight radio telemetry). For example, the buoy was not reporting in July, August (when Typhoon Omar passed over the island), or September, 1992.
The nearshore network of pressure gages was installed February, 1991, and operated until October, 1991. Reinstallation was accomplished in August, 1992, and it has been operating intermittently to the present. The nearshore network has also experienced problems - frequent interruptions in power and persistent contamination of the sensors' signals by stray electrical currents within the building housing the electronic equipment. Though there is a possibility that some of the pressure time series contain spurious electrical noise, the data were edited to remove obvious spikes and the wave record only retained when the measurements were consistent with visual observations of the environment.
Simultaneous operation by both systems began in October, 1992, but only a few large wave events have arrived from the west since that time. Table 2 summarizes the times and the reduced parameters to be discussed below. The examples of processed data were selected as representative of energetic conditions for different predicted tidal elevations on the reef flat. When simultaneous measurements at all 4 sites were unavailable, the next nearest time was utilized (i.e., on 11/23/92). The mean direction of the energy at the peak period measured at Site 1B (the direction from which the waves approach) varied from 217 to 299 deg True. The measured depth in Table 2 is relative to Site 2B, the shallowest gage. These measured depth values are somewhat deeper than typical depths on the reef flat since the pressure sensors were positioned in local depressions.
Table 2 Summary of Events
Significant Wave height (m) Peak Period (sec) |
|||||
Date-m/d/yr Time-GMT |
1B |
2A |
2B |
4A |
Depth (m) |
10/16/92 0200 |
1.77 12.5 |
0.26 102 |
0.36 102 |
0.29 205 |
0.9 |
10/16/92 0600 |
1.83 12.5 |
0.21 205 |
0.31 205 |
0.21 205 |
0.7 |
11/23/92 0600 |
0.26 68 |
0.45 68 |
0.51 205 |
0.8 |
|
11/23/92 1500 |
5.13 12.5 |
||||
11/24/92 0600 |
4.26 11.1 |
0.26 205 |
0.42 102 |
0.8 |
|
11/24/92 0800 |
4.52 11.1 |
0.26 205 |
0.45 205 |
0.9 |
|
08/06/93 1600 |
3.95 12.5 |
0.86 205 |
1.2 |
||
08/07/93 0200 |
3.51 12.5 |
0.79 205 |
1.1 |
||
08/07/93 0600 |
2.85 11.1 |
0.47 205 |
0.8 |
||
08/07/93 1400 |
3.05 12.5 |
0.71 205 |
1.2 |
||
08/07/93 2200 |
2.94 12.5 |
0.51 205 |
0.9 |
||
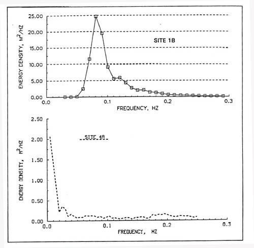
The energy on the reef exhibits unexpected qualities - it tends to increase as it propagates shoreward, and the peak shifts toward the extreme lower end of the spectrum. Figure 3-a is the spectrum for Site 1B for 10/16/92 @ 0600 hr, exhibiting a typical shape for a fully developed sea. Underneath (Figure 3-b) are the spectra for Sites 2A, 2B, and 4A. The low frequency energy content increases dramatically moving shoreward. The 12 second (0.08 Hz) peak of the incident wave is not apparent at Site 2A, shows as a secondary peak at Site 2B, and is barely evident at Site 4A. This trend is typical and is repeated for all the cases examined. Figure 4 shows the offshore and reef (Site 4A) spectra for 8/06/93 @ 1600 hr. Note the scale change for reef energy relative to Figure 3.

Figure 3 Energy spectra for Sites 1B (a) 2A, 2B, and 4A (b) for
10/16/92 @ 0600 hr

Figure 4 Energy spectra for Site 1B (a) and Site 4A (b) for
8/06/93 @ 1600 hr
4. DISCUSSION
Because the low frequency cut-off for the buoy spectra is 0.03 Hz, it is not possible to directly compare the low frequency energy on the reef with offshore energy input, but experience indicates the energy at these frequencies in deep water is quite low. Therefore, the oscillations on the reef flat are almost certainly the result of nonlinear transfer of the incident swell energy to lower frequencies. Two modes of water motion on the reef are postulated:
1) Seiching, or harmonic oscillation of the reef flat as if it were a semi-enclosed basin.
2) Periodic filling [from shoreward mass transport] and draining [through the harbor channel] of the reef flat.
If the reef were modeled as a rough rectangle, it would have dimensions of about 1/2 to 1 km cross shore by several km longshore. Using shallow water liner theory, the dominant (1/4 wave) mode of oscillation would range from a minimum of ~200 sec for the cross-shore wave at the deeper water levels, to on the order of one hour for the long-shore wave at the shallower water levels. While 205 sec energy is a typical peak period for the reef gages, this cannot be considered a sufficient indicator of harmonic oscillation because this merely represents the last frequency bin (0.0049 Hz) for the given sampling scheme and the spectral analysis routine. Energy may be present at other frequencies in the vicinity of 0.0049 Hz (but masked by the limited resolution) or at significantly lower frequencies. However, closer examination of the pressure time series in Figure 2 reveals low frequency oscillations on the order of 200 sec.
The second hypothesis is suggested by examining the characteristics of the incident swell energy as it propagates across the reef. Inspection of the spectra and time series from Sites 2A, 2B, and 4A reveals the incident gravity wave train persists on the reef flat, though at a diminishing energy level as it propagates shoreward. A first order approximation using shallow water linear wave theory for the wavelength, L, of these waves, for typical periods T ranging from 10 to 25 sec, is
L = T (gd)1/2 @ 30 to 80 m (1)
where g is gravitational acceleration and d is assumed 1 m. However, waves in this regime are highly nonlinear, as illustrated by the dimensionless Ursell parameter, Ur
Ur = (H L2) / d 3 @ 180 to 3200 (2)
for a typical range of wave height, H, between 0.2 and 0.5 m. Waves in this regime are better represented as a series of bores propagating shoreward than as oscillatory waves, and a significant mass transport is associated with their passage (Dept. of the Army, 1984). This shoreward flow of water is eventually blocked by the shore, and must return seaward to conserve mass.
This hypothesis above has been verified by the author's observation during a moderately energetic (incident significant wave height about 3 m) event. Waves breaking on the outer edge of the reef reformed and advanced shoreward as steep crests separated by long, flat troughs associated with significant mass flow landward. Nearshore, strong (order of 2-3 m/sec) pulsing, alongshore currents were induced as the water returned seaward through the harbor access channel. The observed period of the current pulses was several minutes. If the currents were only produced by mass transport of the incident waves, the resulting currents would be modulated at the higher frequency of the incident gravity waves. This mechanism does not fully explain the low frequency periodicity evident in the observed currents and the reef flat energy measurements.
It is assumed the return flow exits the reef flat at the channel because the hydraulic gradient from the nearshore region to the channel entrance is steeper than to anywhere on the reef face; i.e., the channel entrance is lower, on the average, than the outer reef edge. This could be readily explained by the breaking-induced setup of the still water level at the reef edge that doesn't exist in the deeper water in the channel. This setup produces a positive hydraulic gradient from the reef face to the shore, further assisting the mass transport shoreward. The lack of breaking and setup at the channel entrance result in the lowest still water level. The periodic variations in incident wave height would control both the rate of shoreward mass transport [the filling of the reef flat basin] and the relative difference in still water levels between the reef edge, and the channel entrance [the draining of the reef flat]. Thus, the observed low frequency components would be a function of wave groups, or surf beat, another phenomenon that occurs at frequencies less than 0.01 Hz.
Examination of the observed water levels provides some additional insight. If the second mode was dominant, the amplitude of the reef oscillations would be controlled by the offshore wave height. Yet on 10/16/92, a slight increase in offshore energy from 0200 to 0600 hr is associated with a decrease in total reef flat energy (as indicated by the significant wave height). On 08/07/93, a relatively constant offshore energy results in variations in reef flat energy that closely tracks the water levels. This dependence on water level is more consistent with a translatory wave than periodic draining and filling. Yet there is a dependence on incident energy, as shown by the large increase in reef flat energy on 08/07/93 @ 2200 hr relative to 10/16/92 @ 0200 hr, even though the water depth is the same.
While the hypotheses were presented as alternative modes of motion, both are probably present at any one time. In fact, the most likely explanation is that seiching of the reef flat is the harmonic response to the fluctuations in wave setup at the reef face; these fluctuations in the wave setup induce periodic filling and draining of the reef flat basin.
5. SUMMARY AND CONCLUSIONS
A system was installed and operated on Guam to obtain simultaneous measurements of deep water incident spectra and spectral wave transformation across a coral reef flat at Agat Harbor. Intermittent operation of the system and typically calm conditions contributed to capture of relatively few data sets with appreciable incident energy. Those measurements that were obtained revealed unexpected results about wave transformation across the reef.
Energy in the gravity wave portion of the spectrum (0.03 to 0.3 Hz) is almost totally dissipated within a few meters of the reef face. However, infragravity energy on the order of 0.005 to 0.01 Hz is amplified significantly, and completely dominates the energy spectrum on the reef flat. The energy density of this low frequency component is lowest at the reef face and increases as it propagates shoreward.
A hypothesis is presented that low-frequency energy represents seiching of the reef flat as a semi-enclosed basin. The forcing for the seiching is the periodic filling and draining of the reef flat. Filling occurs from shoreward mass transport, associated with both the setup induced super elevation of the reef face and the bore-like propagation of the incident waves across the shallow reef flat. The basin drains primarily through the harbor entrance channel where the still water level is relatively low because breaking does not occur. Water may also return over the reef face when incident waves subside. The forcing is periodic if there are regular variations in incident energy, such as those associated with wave groups.
Additional measurements would be required to test the hypothesis and quantify the process. Measurements of the shallow water spectra just outside the reef face would verify surf beat frequencies. Obtaining mean water levels at all measurement sites to a common datum would define hydraulic gradients. Longer time series would permit better resolution of the low frequency spectrum on the reef flat.
ACKNOWLEDGEMENTS
This study is funded by Headquarters, US Army Corps of Engineers through the Monitoring of Completed Coastal Projects Program (MCCP). The author gratefully acknowledges the support and assistance of the Port Authority of Guam in conducting the study. Considerable assistance was provided by Mr. James P. McKinney, Ms. Terri L. Prickett, and Dr. David B. King of CERC. Permission was granted by the Chief of Engineers to publish this information.
REFERENCES
Boc, Stanley J., and McGehee, David 1989. "Agat Small Boat Harbor, Guam - Monitoring Plan", Proceedings, Coastal Zone '89 ASCE, Charleston, SC.
Department of the Army 1981. "Final Detailed Project Report and Environmental Statement; Agat Small Boat Harbor, Territory of Guam", US Army Engineer District Honolulu, Honolulu, HI.
Department of the Army 1984. Shore Protection Manual US Army Engineer Waterways Experiment Station, Vicksburg, MS.
McGehee, David D., 1992. "Remote Automated Wave and Water Level Monitoring System Deployed at Agat Harbor, Guam", Proceedings, Coastal Engineering Practice '92 ASCE, Long Beach, CA
Steele, K.E., Wang, D.W., Teng, C., and Lang, N.C. 1990. "Directional Wave Measurements with NDBC 3-Meter Discus Buoys", 1804-01.05, US Department of Commerce, National Data Buoy Center, Stennis Space Center, MS.